Различия двигателей 120 и 157Д
Модератор: MAVr-diesel
- sashant
- Сообщения: 162
- Зарегистрирован: 27 июн 2012, 10:57
- Автомобиль: 157
- Имя: Саша
- Откуда: Рязань
- Контактная информация:
Re: Различия двигателей 120 и 157Д
На неделе разберу, посмотрим что там внутри.
			
			
									
						
										
						- 
				Grunbau
- Сообщения: 1512
- Зарегистрирован: 04 апр 2013, 02:01
- Автомобиль: 4-157
- Имя: Владимир
- Откуда: (Подмосковье)
Re: Различия двигателей 120 и 157Д
Скоба для подъёма,это деталь что держит подвесной подшипник на газ-53 или ЗИЛ-130
			
			
									
						
										
						- sashant
- Сообщения: 162
- Зарегистрирован: 27 июн 2012, 10:57
- Автомобиль: 157
- Имя: Саша
- Откуда: Рязань
- Контактная информация:
Re: Различия двигателей 120 и 157Д
Скинул головку. Цилиндры 101,6 мм. Выработки нет, только ржавое зеркало. Жаль... Хороший мотор разморозили.
			
							- Вложения
- 
			
		
				- 20200806_103746_thumb.jpg (187 КБ) 11640 просмотров
 
- 
			
		
				- 20200806_103742_thumb.jpg (172.47 КБ) 11640 просмотров
 
- 
			
		
				- 20200806_103701_thumb.jpg (246.77 КБ) 11640 просмотров
 
- sashant
- Сообщения: 162
- Зарегистрирован: 27 июн 2012, 10:57
- Автомобиль: 157
- Имя: Саша
- Откуда: Рязань
- Контактная информация:
Re: Различия двигателей 120 и 157Д
Это уже наверное не по теме. Извиняйте 
			
							
- Вложения
- 
			
		
				- 20200806_103749_thumb.jpg (202.04 КБ) 11640 просмотров
 
- 
			
		
				- 20200806_103752_thumb.jpg (205.85 КБ) 11640 просмотров
 
- 
				Аркадий
- Сообщения: 732
- Зарегистрирован: 22 июл 2013, 16:24
- Автомобиль: ЗИЛ 157 КДЕ
- Имя: Аркадий
- Откуда: Красноярск
Re: Различия двигателей 120 и 157Д
Восстановить мотор можно.sashant писал(а): 06 авг 2020, 11:25 Скинул головку. Цилиндры 101,6 мм. Выработки нет, только ржавое зеркало. Жаль... Хороший мотор разморозили.
Если не будешь восстанавливать сам - предложи реставраторам.
План, что и говорить, был превосходный: простой и ясный, лучше не придумать. Недостаток у него был только один: было совершенно неизвестно, как привести его в исполнение.
---
Льюис Кэрролл, "Алиса в стране чудес"
			
						---
Льюис Кэрролл, "Алиса в стране чудес"
- sashant
- Сообщения: 162
- Зарегистрирован: 27 июн 2012, 10:57
- Автомобиль: 157
- Имя: Саша
- Откуда: Рязань
- Контактная информация:
Re: Различия двигателей 120 и 157Д
Двигатель разобрал полностью. "Потроха" законсервировал, когда-нибудь попробую собрать на другом блоке. Этот блок мне не нужен, если кому-то нужен - отдам.
			
			
									
						
										
						Re: Различия двигателей 120 и 157Д
Здравствуйте, что бы не засорять форум  своим вопросом, создал новую тему: viewtopic.php?f=2&t=1637 
подскажите пожалуйста может ли такое быть или в моём случае врет измерительный инструмент
			
			
									
						
										
						подскажите пожалуйста может ли такое быть или в моём случае врет измерительный инструмент
Re: Различия двигателей 120 и 157Д
А кто-нибудь измерял межосевое поршня 157Д-1004050? 206,5 или 207?  Лопата для инета чего-то совсем ничего не копает   
   
 
По расчёту 206,5, как-бЭ подходит.
			
			
									
						
										
						 
   
 По расчёту 206,5, как-бЭ подходит.
Re: Различия двигателей 120 и 157Д
Откуда 206,5 или 207? Вроде получается 211,5.
			
			
									
						
										
						Re: Различия двигателей 120 и 157Д
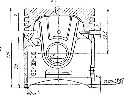
Поршень 157К - 120-1004015 /  шатун 150В-1004050   
H=52,0 (L=106, D=101,6) / L=217
Поршень 130 - 130-1004015-А3 / 157Д-1004015
H=62,5 (L=110, D=101,6)/ L=?
Для сохранения степени сжатия, примерно, должны на одинаковую высоту подниматься. Блок никто не менял, расположение коленвала от среза ГБЦ то-же, а палец в поршне ЗиЛ-а ниже,
62,5-52 - на 10,5; 217-10,5 = 206,5 - но там "пыль" с изменением сечения (изменился и диаметр цилиндра) - поэтому надо чуть недовести.
52 или 56 Н ?
Если 56 - то да, 210,5 - но надо-бы померить.
			
			
									
						
										
						H=52,0 (L=106, D=101,6) / L=217
Поршень 130 - 130-1004015-А3 / 157Д-1004015
H=62,5 (L=110, D=101,6)/ L=?
Для сохранения степени сжатия, примерно, должны на одинаковую высоту подниматься. Блок никто не менял, расположение коленвала от среза ГБЦ то-же, а палец в поршне ЗиЛ-а ниже,
62,5-52 - на 10,5; 217-10,5 = 206,5 - но там "пыль" с изменением сечения (изменился и диаметр цилиндра) - поэтому надо чуть недовести.
52 или 56 Н ?
Если 56 - то да, 210,5 - но надо-бы померить.

